
The AD9772AAST to 14-bitowy konwerter cyfrowo-analogowy przeznaczony do szybkiego generowania sygnałów w systemach komunikacyjnych i syntezie.Konwertuje równoległe dane cyfrowe na dokładne wyjścia analogowe z dużą szybkością aktualizacji, wspierając tworzenie przebiegów szerokopasmowych.Urządzenie jest powszechnie stosowane w ścieżkach nadajnika, gdzie wymagana jest stabilna kontrola amplitudy i powtarzalne zachowanie sygnału wyjściowego.Jego struktura umożliwia proste połączenie z logiką przetwarzania cyfrowego przy zachowaniu przewidywalnej jakości sygnału.Ta część jest odpowiednia dla infrastruktury bezprzewodowej, sprzętu szerokopasmowego i laboratoryjnych źródeł sygnału, które opierają się na stałej wydajności konwersji analogowej.Szukasz AD9772AAST?Skontaktuj się z nami, aby sprawdzić aktualny stan magazynowy, czas realizacji i cenę.

| Nr pinu | Mnemonik | Opis |
| 1, 2, 19, 20 | DCOM | Cyfrowe złącze wspólnego uziemienia. |
| 3 | DB13 | Najbardziej znaczące wejście bitowe danych. |
| 4 do 15 | DB12 do DB1 | Równoległe cyfrowe wejścia danych od bitu 12 do bitu 1. |
| 16 | DB0 | Najmniej znaczące wejście bitowe danych. |
| 17 | MOD0 | Cyfrowa kontrola odpowiedzi filtra górnoprzepustowego, aktywny wysoki, umożliwia cyfrowe miksowanie półfalowe, cyfrowe miksowanie ćwierćfalowe, gdy jest ustawione na wysoki poziom w MOD1. |
| 18 | MOD1 | Sterowanie trybem zerowego wypełniania, aktywny wysoki, umożliwia cyfrowe miksowanie ćwierćfalowe z zerowym wypełnieniem, gdy jest ustawiony na wysoki poziom za pomocą MOD0. |
| 21, 22, 47, 48 | DVDD | Cyfrowe wejście napięcia zasilania, 3,1 V do 3,5 V. |
| 23, 24 | NC | Brak połączenia, pozostaw otwarte. |
| 25 | PLLLOCK | Wskaźnik blokady pętli blokady fazy lub wyjście zegara 1×, gdy PLL jest wyłączone, stan wysoki oznacza zablokowanie PLL, maksymalny poziom wentylatora mniejszy niż 10 pF. |
| 26 | ZRESETUJ | Wejście resetowania wewnętrznego dzielnika używane do synchronizacji zegara wewnętrznego, gdy PLL jest wyłączone. |
| 27, 28 | DZIAŁ1, DZIAŁ0 | Piny sterujące współczynnikiem podziału preskalera PLL. |
| 29 | CLK+ | Nieodwracający sygnał wejściowy zegara różnicowego, przesunięty względem CLKVDD podzielonego przez dwa. |
| 30 | CLK- | Odwracające wejście zegara różnicowego, przesunięte do wartości CLKVDD podzielonej przez dwa. |
| 31 | CLKCOM | Wspólne odniesienie wejścia zegarowego. |
| 32 | CLKVDD | Napięcie zasilania wejściowego zegara, 3,1 V do 3,5 V. |
| 33 | PLLCOM | Wspólne odniesienie dla pętli blokady fazowej. |
| 34 | PLLVDD | Napięcie zasilania pętli synchronizacji fazowej, 3,1 V do 3,5 V, podłączyć do PLLCOM, aby wyłączyć mnożnik zegara PLL. |
| 35 | LPF | Węzeł filtra pętli PLL pozostaje otwarty, chyba że szybkość aktualizacji jest niższa niż 10 MSPS, gdzie wymagana jest zewnętrzna sieć RC. |
| 36 | SPAĆ | Wejście sterujące wyłączaniem, aktywne, wysokie, podłącz do ACOM, jeśli nie jest używane. |
| 37, 41, 44 | ACOM | Wspólne połączenie analogowe z masą. |
| 38 | REFLO | Masa odniesienia dla wewnętrznego odniesienia 1,2 V, podłącz do AVDD, aby wyłączyć wewnętrzne odniesienie. |



AD9772AAST zapewnia 14-bitową rozdzielczość, umożliwiając precyzyjną kontrolę nad poziomami sygnału wyjściowego.Ta rozdzielczość zapewnia dokładną reprezentację cyfrowo generowanych przebiegów po konwersji do postaci analogowej.Pomaga utrzymać płynne przejścia sygnału i stabilne zachowanie amplitudy w ścieżkach generowania sygnału.
Urządzenie obsługuje maksymalną częstotliwość próbkowania 160 MSPS, umożliwiając szybką konwersję cyfrowych strumieni danych.Ta zdolność próbkowania umożliwia AD9772AAST obsługę sygnałów szerokopasmowych bez utraty spójności taktowania.Nadaje się do systemów wymagających ciągłej, szybkiej konwersji danych.
Konwerter został zaprojektowany w celu zapewnienia stabilnej dynamiki w ścieżkach sygnału nadawczego.Utrzymuje spójne zachowanie wyjściowe podczas przetwarzania szybko zmieniających się wejść cyfrowych.Wspiera to tworzenie czystego sygnału w zastosowaniach komunikacyjnych i syntezie.
AD9772AAST jest zoptymalizowany do pracy z jednym zasilaniem, co upraszcza projektowanie zasilania na poziomie systemu.Taka konstrukcja zmniejsza potrzebę stosowania wielu szyn napięciowych.Obsługuje prostą integrację z kompaktowymi platformami sygnału cyfrowego i mieszanego.
Wewnętrzna struktura CMOS DAC obsługuje szybkie przełączanie i przewidywalne zachowanie wyjściowe.Architektura ta umożliwia wydajną konwersję cyfrowo-analogową przy jednoczesnym zachowaniu spójnego taktowania sygnału.Obsługuje stabilną pracę w szerokim zakresie wzorców danych.
Urządzenie zostało zaprojektowane tak, aby zminimalizować niepożądane zniekształcenia podczas generowania sygnału analogowego.Pomaga to zachować dokładność kształtu fali w zastosowaniach związanych z komunikacją.Czyste zachowanie widmowe zapewnia wyraźniejszą reprodukcję sygnału.
AD9772AAST jest umieszczony w 48-odprowadzeniowej obudowie LQFP o wymiarach 7 x 7 mm.Ta kompaktowa forma do montażu powierzchniowego obsługuje projekty o ograniczonej przestrzeni.Umożliwia łatwe umieszczenie na standardowych płytkach drukowanych.
Jako część serii TxDAC Plus, urządzenie współpracuje z rodziną szybkich przetworników cyfrowo-analogowych.To umiejscowienie obsługuje spójne zestawy funkcji w powiązanych częściach.Umożliwia łatwiejszy wybór w ramach podobnych projektów generacji sygnału.
| Atrybut produktu | Wartość atrybutu |
| Producent | Urządzenia analogowe, Inc. |
| Pakiet urządzeń dostawcy | 48-LQFP (7x7) |
| Seria | TxDAC+® |
| Opakowanie/etui | 48-LQFP |
| Pakiet | Torba |
| Typ mocowania | Montaż powierzchniowy |
| Podstawowy numer produktu | AD9772A |
| Poziom wrażliwości na wilgoć (MSL) | 3 (168 godzin) |
| ECCN | EAR99 |
| HTSUS | 8542.39.0001 |

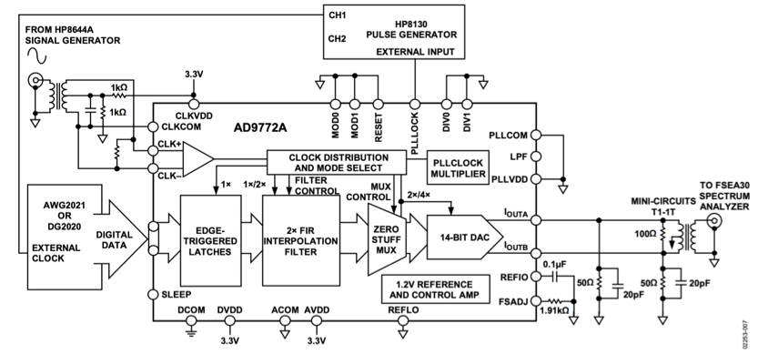
Przedstawia wewnętrzną ścieżkę sygnału i architekturę sterowania przetwornika cyfrowo-analogowego AD9772AAST, szczegółowo opisując, w jaki sposób 14-bitowe równoległe dane wejściowe przechodzą przez zatrzaski wyzwalane zboczem, filtr interpolacyjny 2× FIR i multiplekser z zerowym wypełnieniem przed dotarciem do rdzenia DAC.Wejścia zegara zasilają sieć dystrybucji zegara z możliwością wyboru podziału i mnożnikiem zegara opartym na PLL, obsługującym wyższe wewnętrzne szybkości operacyjne, podczas gdy wybór trybu i logika sterowania filtrem zarządzają ustawieniami konfiguracyjnymi.Na schemacie przedstawiono również wbudowany w chip wzmacniacz odniesienia i sterowania 1,2 V, zewnętrzne styki regulacji odniesienia, wyjścia prądu różnicowego oraz oddzielne analogowe i cyfrowe domeny zasilania i uziemienia, pokazując, jak taktowanie, przetwarzanie danych i funkcje polaryzacji są zintegrowane w urządzeniu.

Definiuje referencyjną konfigurację pomiarową używaną do oceny wydajności AC AD9772AAST podczas testów laboratoryjnych.Dane cyfrowe są dostarczane z generatora wzorców lub źródła sygnału i taktowane w urządzeniu poprzez wejścia zegara różnicowego, z opcjonalnym sterowaniem generatorem impulsów dla pinów resetowania i wyboru trybu.Wewnętrzna dystrybucja zegara, filtr interpolacyjny i stopnie DAC działają pod kontrolowanym napięciem zasilania, podczas gdy wyjścia prądu różnicowego są kierowane przez sieci dopasowujące impedancję i elementy sprzęgające.Kondycjonowany sygnał wyjściowy jest następnie podłączany do zewnętrznego sprzętu testowego, takiego jak analizator widma, umożliwiając pomiar czystości widmowej, zniekształceń i charakterystyki szumu w określonych warunkach pracy.
AD9772AAST jest stosowany w systemach nadajników bezprzewodowych, w których dane cyfrowe przed transmisją muszą zostać przekonwertowane na stabilne sygnały analogowe.Obsługuje wysokie szybkości aktualizacji, które umożliwiają płynną obsługę schematów modulacji szerokopasmowej.Dzięki temu nadaje się do ścieżek nadajników, które wymagają przewidywalnego zachowania wyjściowego i spójnego kształtowania sygnału podczas ciągłej pracy.
W systemach bezpośredniej syntezy cyfrowej AD9772AAST konwertuje generowane numerycznie przebiegi na sygnały analogowe z kontrolowaną rozdzielczością.Obsługuje dokładną reprodukcję kształtu fali w szerokim zakresie częstotliwości.Pozwala to systemom syntezy zachować powtarzalną charakterystykę częstotliwości i amplitudy podczas zadań związanych z generowaniem sygnału.
Urządzenie powszechnie stosowane jest w generatorach sygnałowych wykorzystywanych do prac rozwojowych, weryfikacyjnych i kalibracyjnych.Umożliwia precyzyjne wyjście analogowe pochodzące z wzorców cyfrowych.Pomaga to generatorom sygnałów wytwarzać czyste i powtarzalne sygnały testowe w różnych warunkach pracy.
AD9772AAST jest zintegrowany ze sprzętem testowym i pomiarowym, który wykorzystuje kontrolowane wyjścia analogowe do analizy i walidacji.Jego zachowanie konwersji zapewnia stabilne poziomy sygnału w czasie.Ta spójność pomaga zachować wiarygodne wyniki testów podczas powtarzanych cykli pomiarowych.
W łańcuchach przetwarzania sygnału częstotliwości pośredniej i pasma podstawowego część konwertuje przetworzone dane cyfrowe na postać analogową w celu dalszej obróbki.Obsługuje płynne przejścia sygnału i stabilne poziomy wyjściowe.Dzięki temu nadaje się do systemów przetwarzających złożone dane cyfrowe przed konwersją analogową.
AD9772AAST jest stosowany w infrastrukturze komunikacji szerokopasmowej, gdzie ciągłe strumienie danych o dużej prędkości muszą być konwertowane na sygnały analogowe.Obsługuje pracę szerokopasmową wymaganą przez nowoczesne standardy komunikacji.Dzięki temu systemy infrastruktury mogą utrzymać stały sygnał wyjściowy podczas długotrwałej transmisji danych.

Określa wymiary pakietu mechanicznego dla 48-ołowiowego, niskoprofilowego, poczwórnego płaskiego pakietu używanego przez AD9772AAST, z wymiarami podanymi w milimetrach i dostosowanymi do standardów JEDEC MS-026-BBC.Widok z góry określa kwadratowy zarys korpusu, orientację pinu 1, całkowity rozmiar korpusu i rozstaw przewodów, podczas gdy widoki z boku i przekrój pokazują wysokość opakowania, płaszczyznę osadzenia, grubość przewodu i granice współpłaszczyznowości.Szczegółowe objaśnienia określają maksymalne i minimalne tolerancje długości przewodu i wymiarów korpusu, wspierając dokładny projekt obrysu PCB, wyrównanie zespołu i weryfikację luzu mechanicznego.
• Wysoka częstotliwość próbkowania umożliwia generowanie sygnału szerokopasmowego
• 14-bitowa rozdzielczość równoważy prędkość z dokładnością wyjściową
• Architektura TxDAC Plus dostosowana do ścieżek sygnału transmisyjnego
• Kompaktowy pakiet LQFP obsługuje gęste układy PCB
• Stabilne zachowanie przy generowaniu sygnału IF i pasma podstawowego
• Ugruntowane zastosowanie w systemach komunikacyjnych i oprzyrządowania
• Brak zintegrowanego wzmacniacza wyjściowego
• Większe zużycie energii w porównaniu do urządzeń DAC o niższej prędkości
• Tylko działanie jednokanałowe
• Starsza konstrukcja w porównaniu do nowszych rozwiązań DAC
• Staranny układ PCB niezbędny do uzyskania spójnych wyników przy dużych prędkościach
| Numer części | Producent | Kluczowe funkcje | Użyj przypadku/notatek |
| AD9772AASTZ | Urządzenia analogowe Inc. | Precyzyjny, szybki przetwornik cyfrowo-analogowy TxDAC+® z buforowanym wyjściem i obudową LFBGA do montażu powierzchniowego. | Nadaje się do szybkiego generowania i modulacji sygnału w komunikacji i oprzyrządowaniu. |
| AD9772AASTZRL | Urządzenia analogowe Inc. | TxDAC+® DAC w opakowaniu taśmowym i szpulowym do zautomatyzowanego montażu, oferujący stałą wysoką wydajność. | Idealny do produkcji seryjnej w systemach wymagających niezawodnej integracji przetwornika DAC. |
| AD9772AST | Urządzenia analogowe Inc. | Buforowany wyjściowy przetwornik cyfrowo-analogowy z równoległym interfejsem LVDS i zestawem odsłoniętych podkładek zapewniających optymalną wydajność cieplną. | Stosowany w szybkim sprzęcie do cyfrowego przetwarzania sygnałów, testowaniu i pomiarach oraz sprzęcie komunikacyjnym. |
Analog Devices, Inc. to globalna firma technologiczna skupiająca się na projektowaniu komponentów do przetwarzania sygnałów analogowych, mieszanych i cyfrowych.Firma obsługuje szeroką gamę rynków, w tym komunikację, systemy przemysłowe, elektronikę samochodową, sprzęt medyczny i oprzyrządowanie.Jej portfolio produktów obejmuje konwertery danych, wzmacniacze, urządzenia interfejsowe, czujniki i rozwiązania do zarządzania energią stosowane w złożonych systemach elektronicznych.Firma znana jest z długich cyklów życia produktów, solidnej dokumentacji technicznej i szerokiego ekosystemu wspierającego projektowanie na poziomie systemu.Jej rozwiązania są powszechnie stosowane tam, gdzie wymagana jest dokładna obsługa sygnału i stabilna praca.
AD9772AAST wyróżnia się jako niezawodny 14-bitowy konwerter cyfrowo-analogowy zbudowany do szybkiego generowania sygnału.Otrzymujesz wysoką wydajność próbkowania, czyste zachowanie wyjściowe i projekt, który dobrze sprawdza się w systemach transmisyjnych, syntezujących i testowych.Konfiguracja z jednym zasilaniem i kompaktowy pakiet LQFP sprawiają, że integracja jest prostsza.Urządzenie korzysta również z architektury TxDAC Plus, która pomaga utrzymać stabilną jakość sygnału.Chociaż nie zawiera wzmacniacza wyjściowego, zapewnia spójne wyniki w połączeniu z odpowiednimi obwodami zewnętrznymi.Ogólnie rzecz biorąc, jest to dobry wybór, gdy potrzebujesz szybkiej i powtarzalnej konwersji analogowej.
Proszę wysłać zapytanie, natychmiast odpowiemy.
AD9772AAST to 14-bitowy konwerter cyfrowo-analogowy przeznaczony do szybkiego generowania sygnału.
Obsługuje częstotliwości próbkowania do 160 MSPS, dzięki czemu nadaje się do sygnałów szerokopasmowych.
Tak, jest przeznaczony do pracy z jednym zasilaniem, co upraszcza projektowanie zasilania.
Urządzenie mieści się w 48-odprowadzeniowej obudowie LQFP o niewielkich rozmiarach.
Jest często stosowany w nadajnikach bezprzewodowych, generatorach sygnału, sprzęcie testowym oraz systemach przetwarzania sygnału IF lub pasma podstawowego.
na 2026/01/26
na 2026/01/25
na 8000/04/14 147670
na 1600/04/14 111274
na 2000/04/14 111080
na 0400/04/14 83248
na 1970/01/1 78425
na 1970/01/1 66415
na 1970/01/1 62668
na 1970/01/1 62376
na 1970/01/1 53928
na 1970/01/1 51615